Удалить авто?
Вы уверены, что хотите удалить сохраненное авто?
| Сопутствующий товар: Турбокомпрессор | LAT 0837 |
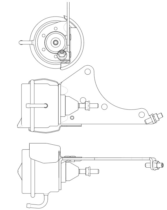
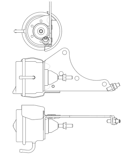
| Тип актуатора | Пневматический |
| Сопутствующий товар: Набор монтажный | LTC 08371 |
| Сопутствующий товар: Картридж | LAT 5011 |
| Количество на автомобиль | 1 |
| Объем, м3 | 0.002 |
| Вес, кг. | 0.6 |
| Срок годности | Не ограничен |
| Страна изготовления | Китай |
| Актуатор турбокомпрессора | 1 шт |
| № | Марка | Модель | Год | Тип кузова | Привод | Объем двигателя, л | Мощность двигателя, ЛС | Тип топлива | Цилиндр | Клапаны на цилиндр |
|---|---|---|---|---|---|---|---|---|---|---|
| 1 | KIA | SORENTO I VAN (JC) 2.5 CRDi 4WD | 2005 - 2006 | Кроссовер | Привод на все колеса | 2.5 | 140 | Дизель | 4 | 4 |
| 2 | KIA | SORENTO I (JC) 2.5 CRDi | 2002 - 2011 | Кроссовер | Привод на задние колеса | 2.5 | 140 | Дизель | 4 | |
| 3 | KIA | SORENTO I (JC) 2.5 CRDi | 2006 - 2011 | Кроссовер | Привод на все колеса | 2.5 | 163 | Дизель | 4 | 4 |
| 4 | KIA | SORENTO I (JC) 2.5 CRDi 4WD | 2002 - 2011 | Кроссовер | Привод на все колеса | 2.5 | 140 | Дизель | 4 | 4 |
| 5 | KIA | SORENTO I (JC) 2.5 CRDi | 2006 - 2011 | Кроссовер | Привод на все колеса | 2.5 | 170 | Дизель | 4 | 4 |